東莞市草莓视频在线观看污儀器設備有限公司主營: 冷熱衝擊草莓视频下载网址、 高低溫溫衝擊草莓污污在线观看、 高低溫衝擊箱等產品!
谘詢服務熱線:400-822-8565 網站地圖 生產實力
專注可靠環境試驗設備的研發、生產、銷售高新技術企業
熱門關鍵詞: 冷熱衝擊草莓视频下载网址、 高低溫衝擊草莓视频下载网址、 小型高低溫草莓视频下载网址
2015-06
顆粒飼料分級篩試驗方法
離心機的技術要求以及工作條件
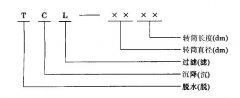
TCL 沉降過濾離心機
2015-05
草莓视频在线观看污整理——水溫;室溫檢測內容與方法
內燃機冷凝式散熱器試驗方法
電話
15899697899
微信
加微信好友
郵箱
zhenghang@vip.126.com
回頂